资讯中心
发布时间:2017/01/09 11:28:38 点击:
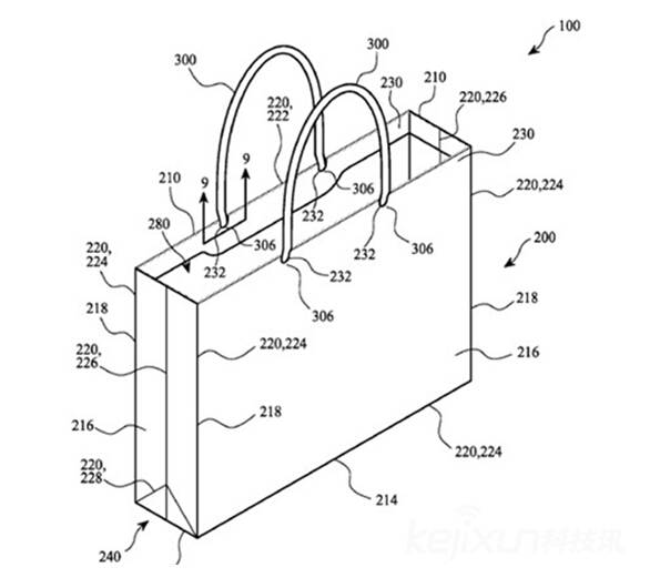
苹果这品牌是街知巷闻,前段时间他居然称为自己的电子产品手提纸袋申请专注,在业内尚属首次。那么这是怎样的一个电子产品手提纸袋,值得苹果为此专门申请专利。我们一睹为快。
在专利备案文件中强该纸袋的环保型设计理念——“60%的纸袋材料采用了可再生纸质材料”,苹果还特别提供了该纸袋的一些独特修改细节,譬如其提手由“8针圆形针织样式的纸纤维制成”。
苹果公司认为,通过合理设计,该纸袋能够有效保护所有的苹果产品,完全消除了意外开裂的安全隐患。同时其表示,这款完全采用纸质材料的袋子“能够有效减少在生产、使用以及处置过程中对环境造成的影响。

原来是如此高档的手提袋,难怪苹果为此不惜代价都为此申请专利。
以上内容由广州骏业手提纸袋厂家(http://www.shoutidai99.com)编辑,转载请注明出处。
客户问答 / Customer Q
资讯中心 / information Centre
2024-07-17
2024-07-17
2024-07-16
2024-04-09
2024-04-08
2024-04-02
2024-04-01
您的需求 / Your needs
微信在线
咨询电话
投诉电话